How To Get A Stuck Oil Pan Bolt Off . the best tool to use to loosen the oil drain plug is the socket wrench. getting a stuck oil drain plug can be frustrating and cause delays in your car maintenance routine. Consider a socket wrench with a longer handle since it provides you extra torque making your mission easier. are you dealing with a stuck oil drain plug? Before trying to remove the oil pan, make sure there is. Here's a simple guide on how to remove the stuck plug with ease. Get the proper socket that matches the oil drain plug size and use it to remove the stuck oil drain plug. Because the space underneath the vehicle can be very tight, getting enough leverage is going to be a challenge, but in this guide, i’ll show you a couple of ways to do it. in this video i show how to remove a stuck engine oil pan.
from stalugac9yfixengine.z14.web.core.windows.net
in this video i show how to remove a stuck engine oil pan. are you dealing with a stuck oil drain plug? getting a stuck oil drain plug can be frustrating and cause delays in your car maintenance routine. Before trying to remove the oil pan, make sure there is. the best tool to use to loosen the oil drain plug is the socket wrench. Consider a socket wrench with a longer handle since it provides you extra torque making your mission easier. Get the proper socket that matches the oil drain plug size and use it to remove the stuck oil drain plug. Because the space underneath the vehicle can be very tight, getting enough leverage is going to be a challenge, but in this guide, i’ll show you a couple of ways to do it. Here's a simple guide on how to remove the stuck plug with ease.
How To Get Stuck Bolt Off
How To Get A Stuck Oil Pan Bolt Off Before trying to remove the oil pan, make sure there is. getting a stuck oil drain plug can be frustrating and cause delays in your car maintenance routine. Get the proper socket that matches the oil drain plug size and use it to remove the stuck oil drain plug. Because the space underneath the vehicle can be very tight, getting enough leverage is going to be a challenge, but in this guide, i’ll show you a couple of ways to do it. Before trying to remove the oil pan, make sure there is. Consider a socket wrench with a longer handle since it provides you extra torque making your mission easier. are you dealing with a stuck oil drain plug? in this video i show how to remove a stuck engine oil pan. the best tool to use to loosen the oil drain plug is the socket wrench. Here's a simple guide on how to remove the stuck plug with ease.
From stalugac9yfixengine.z14.web.core.windows.net
How To Get Stuck Bolt Off How To Get A Stuck Oil Pan Bolt Off Consider a socket wrench with a longer handle since it provides you extra torque making your mission easier. Before trying to remove the oil pan, make sure there is. are you dealing with a stuck oil drain plug? in this video i show how to remove a stuck engine oil pan. Because the space underneath the vehicle can. How To Get A Stuck Oil Pan Bolt Off.
From exowujcvw.blob.core.windows.net
Changing Oil Bolt Stuck at Marisa Hawkes blog How To Get A Stuck Oil Pan Bolt Off Because the space underneath the vehicle can be very tight, getting enough leverage is going to be a challenge, but in this guide, i’ll show you a couple of ways to do it. are you dealing with a stuck oil drain plug? in this video i show how to remove a stuck engine oil pan. Before trying to. How To Get A Stuck Oil Pan Bolt Off.
From www.youtube.com
How to Remove Broken Oil Pan Bolts. YouTube How To Get A Stuck Oil Pan Bolt Off Consider a socket wrench with a longer handle since it provides you extra torque making your mission easier. getting a stuck oil drain plug can be frustrating and cause delays in your car maintenance routine. Because the space underneath the vehicle can be very tight, getting enough leverage is going to be a challenge, but in this guide, i’ll. How To Get A Stuck Oil Pan Bolt Off.
From exowujcvw.blob.core.windows.net
Changing Oil Bolt Stuck at Marisa Hawkes blog How To Get A Stuck Oil Pan Bolt Off in this video i show how to remove a stuck engine oil pan. the best tool to use to loosen the oil drain plug is the socket wrench. Consider a socket wrench with a longer handle since it provides you extra torque making your mission easier. are you dealing with a stuck oil drain plug? Get the. How To Get A Stuck Oil Pan Bolt Off.
From www.my4dsc.com
How to Remove your Upper Oil Pan How To Get A Stuck Oil Pan Bolt Off Because the space underneath the vehicle can be very tight, getting enough leverage is going to be a challenge, but in this guide, i’ll show you a couple of ways to do it. in this video i show how to remove a stuck engine oil pan. Consider a socket wrench with a longer handle since it provides you extra. How To Get A Stuck Oil Pan Bolt Off.
From www.2carpros.com
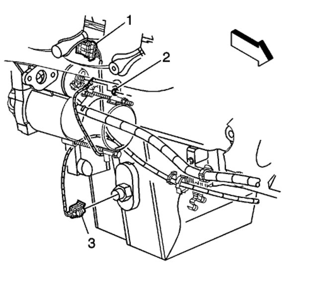
Oil Pan Removal Instructions for Remove Bolts Oil Pan Chevrolet How To Get A Stuck Oil Pan Bolt Off in this video i show how to remove a stuck engine oil pan. Here's a simple guide on how to remove the stuck plug with ease. Because the space underneath the vehicle can be very tight, getting enough leverage is going to be a challenge, but in this guide, i’ll show you a couple of ways to do it.. How To Get A Stuck Oil Pan Bolt Off.
From www.youtube.com
Oil change tip how to loosen a stuck oil pan drain plug / bolt YouTube How To Get A Stuck Oil Pan Bolt Off the best tool to use to loosen the oil drain plug is the socket wrench. Here's a simple guide on how to remove the stuck plug with ease. Get the proper socket that matches the oil drain plug size and use it to remove the stuck oil drain plug. Because the space underneath the vehicle can be very tight,. How To Get A Stuck Oil Pan Bolt Off.
From garagetbunnymanhbf.z21.web.core.windows.net
How To Fix A Stripped Out Oil Pan Drain Plug How To Get A Stuck Oil Pan Bolt Off in this video i show how to remove a stuck engine oil pan. getting a stuck oil drain plug can be frustrating and cause delays in your car maintenance routine. Here's a simple guide on how to remove the stuck plug with ease. Get the proper socket that matches the oil drain plug size and use it to. How To Get A Stuck Oil Pan Bolt Off.
From www.youtube.com
How to Remove a Stuck Bolt , Rounded Torx ( Stripped Rusted Seized How To Get A Stuck Oil Pan Bolt Off in this video i show how to remove a stuck engine oil pan. getting a stuck oil drain plug can be frustrating and cause delays in your car maintenance routine. Consider a socket wrench with a longer handle since it provides you extra torque making your mission easier. the best tool to use to loosen the oil. How To Get A Stuck Oil Pan Bolt Off.
From www.2carpros.com
Oil Pan Removal Instructions for Remove Bolts Oil Pan Chevrolet How To Get A Stuck Oil Pan Bolt Off in this video i show how to remove a stuck engine oil pan. getting a stuck oil drain plug can be frustrating and cause delays in your car maintenance routine. the best tool to use to loosen the oil drain plug is the socket wrench. Get the proper socket that matches the oil drain plug size and. How To Get A Stuck Oil Pan Bolt Off.
From www.2carpros.com
Oil Pan Removal Instructions for Remove Bolts Oil Pan Chevrolet How To Get A Stuck Oil Pan Bolt Off the best tool to use to loosen the oil drain plug is the socket wrench. Because the space underneath the vehicle can be very tight, getting enough leverage is going to be a challenge, but in this guide, i’ll show you a couple of ways to do it. are you dealing with a stuck oil drain plug? Get. How To Get A Stuck Oil Pan Bolt Off.
From vehiclefreak.com
How To Remove A Stuck Oil Drain Plug How To Get A Stuck Oil Pan Bolt Off the best tool to use to loosen the oil drain plug is the socket wrench. are you dealing with a stuck oil drain plug? Consider a socket wrench with a longer handle since it provides you extra torque making your mission easier. Because the space underneath the vehicle can be very tight, getting enough leverage is going to. How To Get A Stuck Oil Pan Bolt Off.
From www.pinterest.com
How to remove a broken bolt in a deep hole remove broken bolt in How To Get A Stuck Oil Pan Bolt Off Before trying to remove the oil pan, make sure there is. in this video i show how to remove a stuck engine oil pan. the best tool to use to loosen the oil drain plug is the socket wrench. Consider a socket wrench with a longer handle since it provides you extra torque making your mission easier. Because. How To Get A Stuck Oil Pan Bolt Off.
From www.youtube.com
How To Fix A Broken Off Bolt YouTube How To Get A Stuck Oil Pan Bolt Off Because the space underneath the vehicle can be very tight, getting enough leverage is going to be a challenge, but in this guide, i’ll show you a couple of ways to do it. Get the proper socket that matches the oil drain plug size and use it to remove the stuck oil drain plug. Here's a simple guide on how. How To Get A Stuck Oil Pan Bolt Off.
From workshopvlierhoutgps.z13.web.core.windows.net
How To Take Off Exhaust Bolts How To Get A Stuck Oil Pan Bolt Off Because the space underneath the vehicle can be very tight, getting enough leverage is going to be a challenge, but in this guide, i’ll show you a couple of ways to do it. Here's a simple guide on how to remove the stuck plug with ease. Consider a socket wrench with a longer handle since it provides you extra torque. How To Get A Stuck Oil Pan Bolt Off.
From www.2carpros.com
Oil Pan Removal Instructions for Remove Bolts Oil Pan Chevrolet How To Get A Stuck Oil Pan Bolt Off are you dealing with a stuck oil drain plug? Before trying to remove the oil pan, make sure there is. Get the proper socket that matches the oil drain plug size and use it to remove the stuck oil drain plug. Here's a simple guide on how to remove the stuck plug with ease. in this video i. How To Get A Stuck Oil Pan Bolt Off.
From enginelgcdelt0333dhv.z13.web.core.windows.net
How To Get A Stripped Bolt Off Oil Pan How To Get A Stuck Oil Pan Bolt Off Here's a simple guide on how to remove the stuck plug with ease. are you dealing with a stuck oil drain plug? Get the proper socket that matches the oil drain plug size and use it to remove the stuck oil drain plug. Consider a socket wrench with a longer handle since it provides you extra torque making your. How To Get A Stuck Oil Pan Bolt Off.
From dxohllcha.blob.core.windows.net
How To Remove A Stuck Bolt Without Head at David Chasse blog How To Get A Stuck Oil Pan Bolt Off the best tool to use to loosen the oil drain plug is the socket wrench. Consider a socket wrench with a longer handle since it provides you extra torque making your mission easier. Before trying to remove the oil pan, make sure there is. Get the proper socket that matches the oil drain plug size and use it to. How To Get A Stuck Oil Pan Bolt Off.